Footing reinforcement detail. Download cad free file | CADBULL
Description
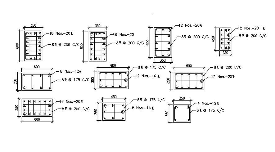
This drawing specified the reinforcement detail of footing in this file. different sizes of footing detail drawing given with dimensions and material specifications. this can be used by architects and engineers. Download this 2d AutoCAD drawing file.
Uploaded by:

